ISO 8750 Spiral-Spannstifte (Spannhülsen), leichte Ausführung
ähnlich DIN 7343 Spiral-Spannstifte (Spannhülsen) leichte Ausführung: keine gravierenden Änderungen

ISO 8750 Spiral-Spannstifte (Spannhülsen) leichte Ausführung sind gebogene, mehrfach gewickelte, Metallplättchen, welche durch ein passgenaues Bohrloch in ein Werkstück eingetrieben werden, um es zu sichern. Achten Sie darauf, dass die Spannhülse kein Spiel hat und genau passt, z. B. wird eine Spannhülse mit einem Hammer eingetrieben. Die schwere Ausführung hat eine dickere Wandstärke und kann mehr Kraft aufnehmen. mehr ...


Technische Maße für ISO 8750 Spiral-Spannstifte (Spannhülsen), leichte Ausführung

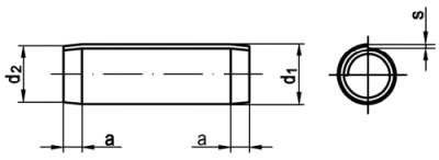
Legende:
Maße
= Durchmesser (Nennmaß)
a
= Länge-Fase
d1
= Durchmesser-Innen
d2
= Durchmesser-Außen
s
= Stärke / Höhe

Maße 1 1,5 2 2,5 3 3,5 4 5 6 8 10 12 14 16
a 0,3 0,5 0,7 0,8 1 1,2 1,3 1,7 2 3 3 4 4,5 5
s 0,08 0,13 0,17 0,21 0,25 0,29 0,33 0,42 0,5 0,67 0,84 1 1,2 1,3
d1 1,1 1,62 2,15 2,65 3,15 3,67 4,2 5,25 6,25 8,35 10,45 12,5 14,55 16,55
d2 0,95 1,4 1,9 2,35 2,85 3,35 3,8 4,8 5,8 7,75 9,6 11,5 13,5 15,4
Abscherkraft (kN), nur für Federstahl 0,6 1,45 2,5 3,9 5,5 7,5 9,6 15 22 39 62 89 120 155

weitere Informationen

 

Unterscheidung von Spannstiften (Spannhülsen)

Grundsätzlich unterscheidet man Spannstifte der leichten Form mit geringer und Spannstifte der schweren Form mit erhöhter Wandstärke für Anwendungen mit höheren Kräften.

A) Spannstifte leichte Form

b) Spannstifte schwere Form

 

Einsatzbereich von Spannhülsen ISO 8750

Verwendet werden Spannhülsen ISO 8750 meist im Maschinen- und Anlagenbau, im Kfz-Bereich, bei Oldtimern oder auch zur Verbindung von Metallen im Holzbau. Sie haben durch die mehrfache Wickelung eine größere Beständigkeit gegenüber auftretenden Kräften.

Alle Angaben ohne Gewähr, Gewährleistung oder Haftung.


Version 3.24.2 - Servername: WEBAPP11


 
 Warenkorb
Zur Kasse | Drucken
 
Ihr Warenkorb ist leer

DIN 125 Unterlegscheiben Form A Stahl Klasse 140 HV

DIN 125 Unterlegscheiben Form A Stahl Klasse 140 HV
 
Artikel-Nr. 1490-212
Werkstoff STAHL - verzinkt
Norm DIN 125A
Abmessung A 6,4 f. M 6

ISO 7380 Flachkopfschrauben mit Innensechsrund (TX)

ISO 7380 Flachkopfschrauben mit Innensechsrund (TX)
 
Artikel-Nr. 4251-044
Werkstoff ROSTFREI A4
Norm ISO 7380TX
Abmessung M 4 x 25 TX
Hier finden Sie das zuletzt angesehene Produkt
Unsere App - jetzt online!
NEU im Sortiment: Zusätzlich über 15.000 neue Kleinmengen
Zertifizierung

Kundenbewertungen (2.118)
So entstehen unsere Kundenbewertungen

Unsere Kundenbewertungen einschließlich der Sternebewertungen können nur nach Bestellabschluss erstellt werden.

Dadurch ist sichergestellt, dass unser Bestellprozess, unser Service sowie unsere Produkte von echten Kunden bewertet werden, die ihre Erfahrungen mit ihnen teilen möchten.


"macht einfach Spaß, bei Ihnen einzukaufen!"
-

"Bitte Bitte Bitte so lassen!! Nix ändern!!"
- Uwe Krippner

"Kaufe seit 6 Jahren bei Wegertsender, bin immer zufrieden. Top"
-

"Vor vielen Jahren habe ich das erste Mal bei Ihnen bestellt und war sehr zufrieden. Jetzt habe ich - endlich - ein Kundenkonto angelegt."
- Jürgen Schmidt

"Weiter so!!!!"
-

Unsere Cookie-Richtlinien

Wir nutzen Cookies, um unsere Seite für Sie bestmöglich zu gestalten und dauerhaft zu verbessern. Weitere Informationen erhalten Sie in unserer Datenschutzerklärung. Ohne Ihre Zustimmung werden nur technisch notwendige Cookies verwendet.
AKZEPTIEREN
ABLEHNEN